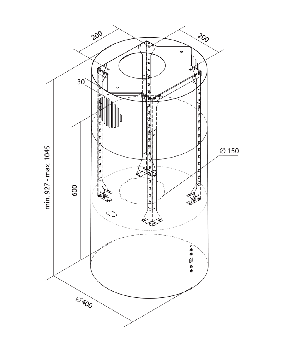
Ostrovčekový digestor Tubo Kashmir Gesture Control

https://nortberg.sk/o,965,tubo-kashmir-gesture-control.html